在继上篇[C语言]贪吃蛇_结构数组实现大半年后,链表实现的版本也终于出炉了。两篇隔了这么久除了是懒癌晚期的原因外,对整个游戏流程的改进,模块的精简也花了一些时间(都是借口)。
优化模块的前沿链接:
一、游戏流程
贪吃蛇游戏的原理很简单,即在一张地图内,有一条蛇和随机出现的食物,玩家操控蛇的移动,当蛇吃到了食物后,蛇长度增加。游戏过程中,蛇不能撞墙,也不能咬到自身。
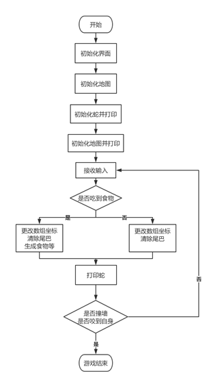
反映到程序中,就是这样一张简略的流程图(结构数组实现):
在这个流程中,有许多的不足。当蛇以及存在并且接受了一个合法的输入时,根据下一步是否吃到食物来判断是否需要清除尾巴是合理的,但在控制台里,贪吃蛇每次循环移动其实都只需对两个位置进行操作:一个是接受操作后的蛇头,无论下一步在哪儿,这都是必须要打印的一个;另一个是蛇尾,这则需要根据蛇头是否吃到食物来决定去留。所以每次循环都重新打印所有节点是很多余的,因此需要改进。
我们可以这样改:在接受输入后,先把一定会移动的蛇头打印出来,再判断蛇尾的去留。最后在蛇(链表)各个节点中,依次赋得前一个节点的值。流程图移动模块如下:
按照这个流程图,蛇每次移动就只需要操作控制台上的两个节点了。另外可以将在控制台某坐标打印一个特殊符号抽象成一个函数:
#define SPACE 0
#define NODE 1
#define FOOD 2
#define WALL 3
void PrintIn(int size,int x,int y);
void PrintIn(int size,int x,int y)
{
//size
//清除节点:0 打印蛇身:1
//打印食物:2 打印墙壁:3
char *arr[4] = {" ","⊙","",""};
Pos(x,y);
printf("%s",arr[size]);
}
二、初始化
1.初始化地图
在[C语言]贪吃蛇_结构数组实现中我提到过,因为控制台一个字符的宽高所占像素点不同,所以再看控制台上想输出一个规整的正方形,就得让宽高之比为2:1。并且为了输出的正方形更完整,就需要使用一些占两个普通字符的特殊字符。
#define WIDTH 60
#define HEIGHT 30
void CreateMap(void);
void CreateMap(void)
{
int i;
for(i=0;i<WIDTH;i+=2)// 上下30 宽
{
PrintIn(WALL,i,0);
PrintIn(WALL,i,HEIGHT-1);
}
for(i=1;i<HEIGHT-1;i++)//左右 28+2 高
{
PrintIn(WALL,0,i);
PrintIn(WALL,WIDTH-2,i);
}
}
2.初始化蛇
在初始化蛇之前,我们得给蛇一个定义:蛇应该是一个链表,其中每个节点都包含了一个坐标。所以有如下定义:
typedef struct {
int x;
int y;
}Place; //坐标
typedef struct node{
Place place;
struct node *next;
}Node; //节点
typedef struct snake{
Node *head;
int size; //长度
}Snake; //指向一条蛇
因此当我们声明
Snake snake;
时,我们其实就声明了一条蛇。
好了,现在可以给蛇赋予节点了。原理也很简单,在链表尾部加三个节点就好。我们规定蛇头在右,共有三个节点,位置居中,所以蛇头的坐标应该为(28,14),后两个节点依次为(26,14)、(24,14)。
bool InitializeSnake(Snake *psnake)
{
Node *pnew;
Node *scan;
for(int i = 0;i<3;i++)
{
scan = (psnake->head);
pnew = (Node *)malloc(sizeof(Node));
if(pnew == NULL)
{
printf("pnew == NULL");
system("pause");
return false;
}
pnew->place.x = 28-2*i;
pnew->place.y = 14;
pnew->next = NULL;
psnake->size++;
PrintIn(NODE,pnew->place.x,pnew->place.y);
if(scan == NULL)
psnake->head = pnew;
else
{
while(scan->next != NULL)
scan = scan->next;
scan->next = pnew;
}
}
return true;
}
3.初始化食物
食物可用一个全局变量来表示,该变量存储一个坐标值。因此可用上之前定义的Place结构。
typedef Place Food;
Food food = {0,0};
而坐标值的范围只要保证两点就好:在地图内;不与蛇身重合。
void CreateFood(void)
{
int flag = 0;
srand((unsigned int)time(0));
while(1)
{
do{
food.x = rand()%(WIDTH-5)+2;
}while(food.x%2!=0);
food.y = rand()%(HEIGHT-2)+1;
Node *scan = snake.head;
while(scan !=NULL)
{
if(scan->place.x == food.x &&
scan->place.y == food.y)
{
flag = -1;
break;
}
scan = scan->next;
}
if(flag>=0)
{
PrintIn(FOOD,food.x,food.y);
break;
}
}
// AfterEatFood();
}
二、蛇的移动——输入的甄别
蛇的移动本质很简单,就是不断更新蛇的位置,并打印。所以我们需要一个循环:
while(true)
{
//。。。
}
其次我们需要接收输入,用来控制游戏进行
这里介绍一个函数
1. int kbhit(void);
2. // 检查当前是否有键盘输入,若有则返回一个非0值,否则返回0
这是一个非阻塞函数,有键按下时返回非0,但此时按键码仍然在键盘缓冲队列中。所以在确定键盘有响应之后,再用一个char变量将输入从缓冲区中调出来。
1. if(kbhit())
2. ch = getch();
现在我们规定游戏中'w' 's' 'a' 'd'控制方向,空格暂停,所以对于用户的输入,我们需要判断是否合法。我用了一个数组+循环来代替一连串的if:
char ch,direction = ' ';
char charr[5] = {'w','s','a','d',' '};
int flag = 0;
if(kbhit())
ch = getch();
for(int i = 0;i<5;i++) //判断输入是否为规定的五个字符
{
if(ch == charr[i])
{
flag = 1;
break;
}
}
当我们得到的输入合法时,我们仍需判断现在的输入方向是否与之前的方向相反,毕竟在我设计的这个游戏里,蛇身可不能折叠往自己身上碾过去。
continue;
}
之前版本10行的事情,现在有意义的代码只有5行。
三、蛇的移动
为了方便对移动的坐标进行操作,我们声明一个数组,用来存储不同方向下坐标的变化:
int dir_value[2][4] = {
{0,0,-2,2},
{-1,1,0,0}
};
不同下标分别对于w s a d,因为长度60的WIDTH其实只有30个单位,所以x值一次加2。
1、画面上的移动
由于蛇身每个节点都一个样,所以没有必要每次循环都把所有的节点重新输出一遍,只需要更新头节点和尾节点就好。在游戏中,无论是撞墙、还是其他情况,蛇只要移动了,那么他头节点的坐标一定会改变,因此我们可以在移动后先把新的蛇头打印出来。至于蛇尾,如果蛇移动后并没有吃到食物,蛇尾则删除,吃到了的话蛇尾则保留。所以在打印了头部之后再判断头部是否吃到食物,再对蛇尾进行处理。
switch(direction)
{
case 'w':
PrintIn(NODE,snake.head->place.x+dir_value[0][0],snake.head->place.y+dir_value[1][0]); //打印头部
if(snake.head->place.x+dir_value[0][0] == food.x && snake.head->place.y+dir_value[1][0] == food.y)
{
//AddNode(&snake); //尾插法
//CreateFood();
}
else //没有吃到
{
Node *tail = GetTail(&snake);
PrintIn(SPACE,tail->place.x,tail->place.y); //画面上消除尾部节点
}
//...
}
2、画面外的移动
在内存中,我们则需要更新各个节点的坐标。如果吃到了食物,则加入一个节点(我用的尾插法),并将前一节点的值赋给后一节点。先前的头节点坐标值赋给第二节点,头节点则根据输入,更新新的坐标值。没有吃到的话,也直接赋值,尾节点坐标值因为下一步就要更新,所以可丢弃不管,只需得到前一节点坐标就好。
case 'w':
PrintIn(NODE,snake.head->place.x+dir_value[0][0],snake.head->place.y+dir_value[1][0]);
if(snake.head->place.x+dir_value[0][0] == food.x && snake.head->place.y+dir_value[1][0] == food.y)
{
AddNode(&snake); //尾插法
CreateFood();
}
else
{
Node *tail = GetTail(&snake); //得到尾节点
PrintIn(SPACE,tail->place.x,tail->place.y);
}
RenewSnake(&snake); //链表各节点值的跟新
snake.head->place.x += dir_value[0][0]; //蛇头更新
snake.head->place.y += dir_value[1][0];
break;
其中RenewSnake()函数用来更新一个链表(蛇),使前一个节点的值赋给后一个节点,对这个只需要两个临时变量就可以。
从这简单的流程图可看出一点端倪,现在我们把步骤完善一下。
因此我们得到了一些普适性的方法,代码如下:
void RenewSnake(Snake *psnake)
{
int x_index[2] = {0,0},y_index[2] = {0,0};
Node *scan = psnake->head;
int i = 1;
x_index[i%2] = scan->place.x;
y_index[i%2] = scan->place.y;
for(i = 1;i<psnake->size;i++)
{
x_index[(i+1)%2] = scan->next->place.x;
y_index[(i+1)%2] = scan->next->place.y;
scan->next->place.x = x_index[i%2];
scan->next->place.y = y_index[i%2];
scan = scan->next;
}
}
同理,其余三个方向也是如此。
四、移动后的操作
在这个游戏中,我们需要这么几个变量:
int length = -1;
int score = -10;
int speed = 250;
其中,length其实可以不需要。我们需要在吃到食物后进行一系列的操作,如加分,重新生成食物等等。所以在移动时的判断里加入一些函数。
if(snake.head->place.x+dir_value[0][0] == food.x && snake.head->place.y+dir_value[1][0] == food.y)
{
AddNode(&snake); //尾插法
CreateFood();
}
生成食物还需要加分等操作,所以我们可以把加分等操作的函数(AfterEatFood();)放到该函数末尾。不过这样的话,游戏开始生成的第一个食物就需要注意了,因此我们的两个全局变量都是负值。
void AfterEatFood()
{
Pos(WIDTH+20,HEIGHT-20);
printf("%d = %d",++length,snake.size);
Pos(WIDTH+16,HEIGHT-18);
if(speed>150)
score += 10;
else
score += 20;
printf("%d",score);
if(speed>100)
speed-=5;
Pos(WIDTH+16,HEIGHT-16);
printf("%d",speed);
}
在蛇移动后,我们还需判断蛇是否撞墙或者咬到自身。撞墙是蛇头与边界坐标的比较,咬到自身则可以用一个循环。
if(ThroughWall(&snake) == true)
{
Pos(0,30);
system("pause");
exit(0);
}
if(BiteItself(&snake)==true)
{
Pos(0,30);
system("pause");
exit(0);
}
bool ThroughWall(Snake *psnake)
{
if(psnake->head->place.x == 0 || psnake->head->place.x == WIDTH-2 ||
psnake->head->place.y == 0 || psnake->head->place.y == HEIGHT-1)
{
Pos(25,15);
printf("撞墙,游戏结束!");
return true;
}
else
{
Pos(0,HEIGHT);
printf(" "); //将闪烁不停的光变放到地图外面---迷之操作=。=
return false;
}
}
bool BiteItself(Snake *psnake)
{
Node *scan = psnake->head;
while(scan->next != NULL)
{
scan = scan->next;
if(scan->place.x == psnake->head->place.x &&
scan->place.y == psnake->head->place.y)
{
Pos(25,15);
printf("咬到自身,游戏结束!");
return true;
}
}
return false;
}
最后在循环末尾加入Sleep,控制游戏的节奏。
Sleep(speed);
五、附注
1、源代码地址:贪吃蛇链表实现源码
2、主函数截图:
3、运行截图:
原文出处:https://www.cnblogs.com/magicxyx/p/9456533.html
共同學習,寫下你的評論
評論加載中...
作者其他優質文章





