安妮 发自 凹非寺
量子位 出品
华为和三星的折叠屏实体手机都已亮过相了,但苹果的折叠屏还迟迟不来,这下网友可是坐不住了。
YouTube上的科技视频博主Concept Creator,就制作了一个可折叠的iPhone手机概念设计视频,将其命名为“Apple iFlex”。
想一睹为快,那接着往下看。
图片来自Concept Creator
三摄折叠方案
在Concept Creator的设计方案中,新品iPhone将有3个后置摄像头:
并且外加一个弹出式的前置摄像头:
当其处于折叠状态时,屏幕为一块5.4英寸、16:9的显示屏:
当将块屏幕展开时,视野瞬间扩大,变成了一块7.9英寸4:3的大屏:
两块屏幕能够实现面对面折叠,依靠的是中间的铰链结构:
折叠屏的开合,看起来就是下面这样的:
整部手机的效果,和iPhone此前的风格变化较大:
对于这样的设计,微博网友评论不一。
有人表示看得心潮澎湃,想上手感受玩一玩。
有网友认为,翻折开是大屏的设计,让iPad Mini系列产品失去了优势,销路堪忧。
也有网友表示反对,认为按照苹果以往的设计路线,应该不会采用弹出式的结构。
还有不少人对折叠屏目前的技术水平表示担忧,加上此前三星折叠屏的组团黑屏和蜜汁凸起事件,他们表示这块屏幕能不能在小朋友手里活过一天还是个问题。
真·苹果折叠屏
真正的苹果折叠屏还在设计的路上。
今年2月,美国专利商标局(USPTO)公布了一份苹果公司的专利,展示了苹果在折叠屏上的新想法:
可以让屏幕“面对面”正折,也可以让屏幕“背对背”反折,甚至还能一正一反实现三折。
屏幕面对面的叠法是许多手机厂商采用的一种折叠方式,能够有效保护屏幕不那么容易被磨损:
背对背折可以可以让屏幕无需手机支架,自己立起来:
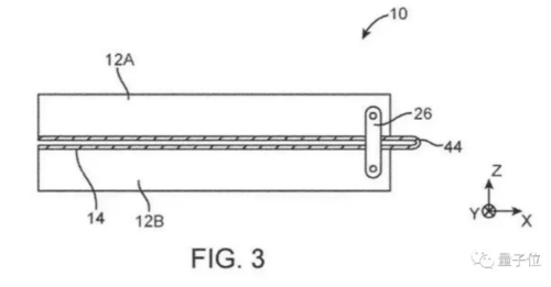
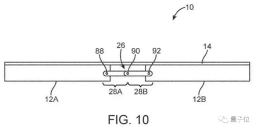
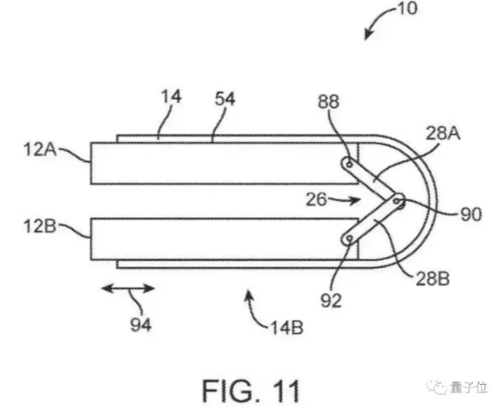
折叠的链接处用到了铰链,除了上图的单铰链设计,苹果还额外设计了一套双铰链的方案,该方案在屏幕展开时是这样的:
而当屏幕被折叠起来,铰链就换了个角度:
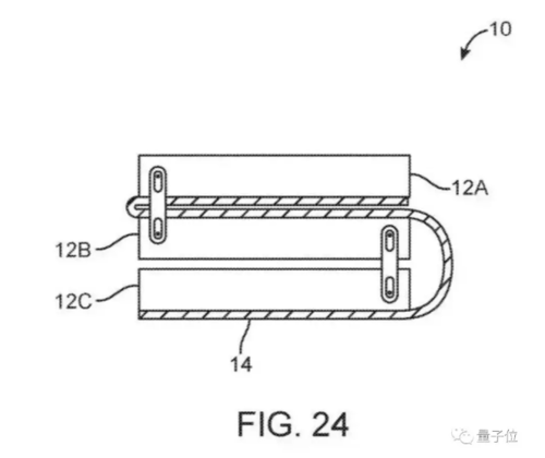
最不同寻常的是这个三折设计,同一块屏幕,一侧正折,一侧反折,将两种技术结合起来,屏幕就变成了三层。
最终折叠起来的面积,只有展开面积的三分之一,可以说是非常便携了。
不知道今年秋天的苹果芯片发布会上,折叠屏的iPhone是否会正式问世。
— 完 —
共同學習,寫下你的評論
評論加載中...
作者其他優質文章













